|
Think & Tinker, Ltd.
P.O. Box 1606, Palmer Lake, CO 80133
Tel: (719) 488-9640, Fax: (866) 453-8473
Sales: Sales@thinktink.com, Support: Support@thinktink.com
|
|
Think
&
Tinker
Ltd.


SkypeMe at "thinkntink"
|
PREVIOUS  NEXT
Model 4200 Series Laminator Manual
Know Your 4200 Series Laminator II
Fig. 3
- FEED TABLE: The Feed Table, Figure 3, is used to position items for lamination. The laminator will operate only when the Feed Table and Feed Table Latch are properly installed.
- SAFETY SHIELD: Prevents entanglement, entrapment and inadvertent contact with the heat rollers. The laminator will operate only when the Safety Shield is located in the fully down position. Power to the motor is removed when the shield is raised.
- TABLE INTERLOCK LATCH: Used to lock the Feed Table into position and activate an interlock switch. The interlock latch is located on the left underside of the Feed Table. The table cannot be removed without retracting the latch to the right while lifting the table upwards and away from the laminator. The laminator will not operate when the table is removed and/or the interlock latch is retracted.
- FEED GUIDE: The Feed Guide, Figure 3, permits alignment of the item(s) to be laminated. To position the adjustable guide, loosen the knob on the top of the guide, slide it to the desired position and tighten the knob to secure the Feed Guide in place. The Feed Guide is used to keep longer items straight. The Feed Guide may also be used to feed smaller items side by side by positioning the guide towards the center of the Feed Table and placing smaller items against each side of the Feed Guide as they are being introduced into the nip point of the heat rollers.
- HEAT ROLLERS: Silicone rubber coated steel tubes, heat the laminating film and compress the heated film to the items being laminated. Heat is provided by an internal heating element. The heat rollers are motor driven for ease of loading new film.
- IDLER BAR: The idler bars, located near each supply roll, are used to direct the film to the heat rollers. The bottom Idler Bar is movable to ease film loading.
- PULL ROLLERS: The pull rollers, located at the back of the laminator, are motor driven. They simultaneously pull the film and improve the quality of the laminated item.
Fig. 4
- CIRCUIT BREAKER: Electrical safety device, located on the back of the laminator near the power cord, can be reset by the operator if tripped (Figure 4).
WARNING: If the breaker trips a second time after being reset, contact your local THINK & TINKER, LTD. Technical Representative or dealer/distributor for assistance.
Fig. 5
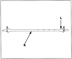
- FILM SHAFT & CORE ADAPTERS: The film shaft holds the film supply and the core adapters hold the rolls of film on the shaft, (Figure 5).
- L. LOCKING COLLARS: Used on the film roll shafts to prevent the rolls of film from shifting side to side.
PREVIOUS  NEXT
|

 |
Established 1990
On the web since 1994
|
Sales: 1-(719) 488-9640 Tech Support: 1-(719) 488-9640 Fax: 1-(866) 453-8473
Copyright © 1994 - 2014 Think & Tinker, Ltd.
|
|